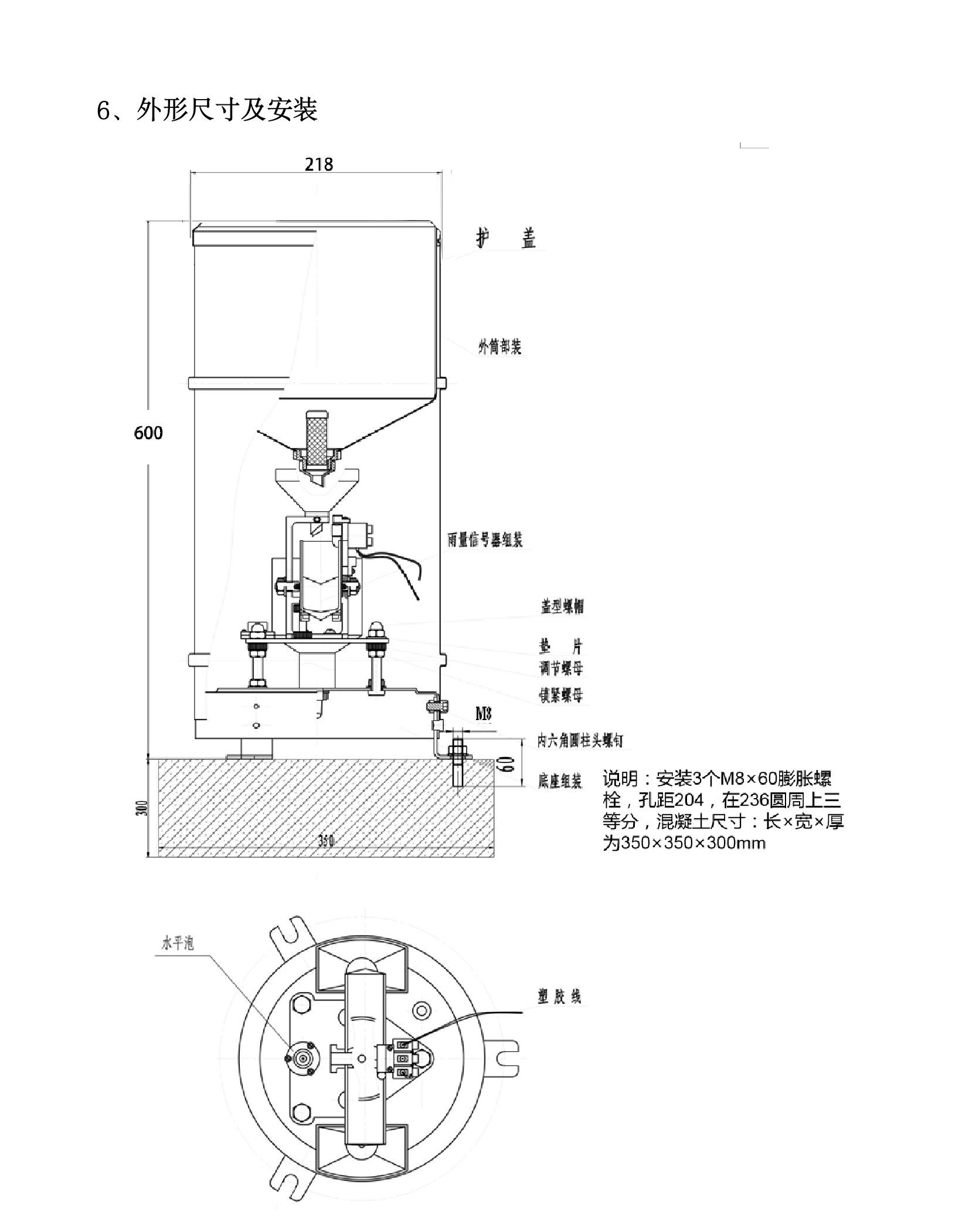
不銹鋼翻斗式雨量傳感器
- 產品型號
- TH-YF12
- 產品品牌
- 云境天合

聯系人:李經理
聯系電話:15666887396
QQ:2248893324
公司地址:山東省濰坊市高新區光電路155號光電產業加速器
在道路兩側,在風速風向監測過程中,將分類垃圾桶放置在合理的位置,以滿足居民的日常需求。而且,完善城市氣象建設也為城市不同產業的發展提供了精細的氣象數據,幫助了不同產業的發展。風速風向對我們城市建設有重要的影響,所以使用便攜式風速風向儀對城市建設有重要的意義。便攜式風速風向儀/手持氣象儀如何使用?便攜式
在農業生產越來越多先進的儀器被應用,其中農業氣象站,它主要作用是監測農田氣象要素,包括:溫度、濕度、風速、風向、等。本文為大家介紹.....
化工防爆氣象站采用防腐、防爆、防水、防震、防塵等高防護等級的設計理念,可滿足化工廠、油庫、隧道、礦山等場景的使用需要。石化生產過程防火工作的重點是預防,從日常檢查管理。消防機構應及時監督整改進度和完成情況,指導解決發現的問題,確保企業及時采取有效措施整改,消除火災隱患。作為一款可用于化工場所的氣象站
一體化水質在線監測站是目前對水質安全進行精準監測的設備。水庫水質安全問題嚴重影響我們的用水安全。由于水庫的水溫層次關系,渾水往往在水庫中水平停滯。因此,采用避渾取清的分層取水法可以達到一定的效果。但由于洪水規模和發生時間的不同,特別是秋末洪水產生的渾水,會跟隨后的冷卻期發生對流混合,往往使水庫內的渾
玉米種植過程中,南方銹病是常見的病害,一旦發生會影響產量。玉米南方銹病監測儀(型號TH-YM6)的出現,讓病害防控變得更及時,幫助農戶減少損失。
環保水質在線監測站TH-LSZ04立桿式水質在線監測站以水質傳感器為核心污染物的種類的水質監測設備。隨著社會的發展,水污染不斷加重,特別是越來越多的有機污染物,是水污染的一個重要特征。一項調查顯示,世界各地有2221種有機污染物。環保水質在線監測站是目前監測和分析各項水質參數的重要設備。水污染是指人類活動排放的
15666887396
